楼市周报丨成都新房成交套数环比上涨27% 多家银行调整存量房贷利率

封面区块链 该文章已上链 >

封面新闻 2024-10-31 16:41 80352

每周四,封面天天见之“封面会买房”都会带来最新楼市资讯与行业观察,从上周四到本周三(10月24日—10月30日),哪些楼市动态值得关注?来看本周楼市周报。

一、土地市场

本地市场:

据成都公共资源交易中心网站,本周(10月24日—10月30日)成都有4宗住宅用地成功出让,分别是位于青白江区城厢镇的82.61亩纯宅地、邛崃市文君街道82.38亩商品住宅用地、邛崃市临邛街道34.27亩商品住宅用地和崇州市崇阳街道28.64亩商品住宅用地。

此外,10月29日,成都市规划和自然资源局发布了成都中心城区今年第三批次集中供应住宅用地清单。根据公告,本批次共有41宗土地供应,合约2014亩,拟于2025年1月底前陆续组织出让。

全国市场:

上海:10月25日,上海进行今年第六批次土拍,共计出让四宗商品住宅用地,总出让面积19.68万平方米,总成交价148.44亿元,其中杨浦宅地溢价率2.32%。同时,上海市发布2024年第七批次拟出让住宅用地清单信息公示和出让预告,拟出让地块为十宗。

杭州:10月29日,杭州萧山、余杭出让三宗住宅地块,分别位于北干西、蜀山南和良渚东单元。根据成交结果,2宗地块溢价成交、1宗地块底价成交,最高溢价率51.31%,三宗地块共计成交额36.66亿元。

二、成交数据

成都商品房成交:

本周(10月24日—10月30日),成都商品房成交总套数2455套,较上周上涨约27.1%,成交总面积322374.04㎡。

成都二手房成交:

本周(10月24日—10月30日),成都二手房成交总套数5825套,较上周上涨约1.64%,成交总面积548497.63㎡。

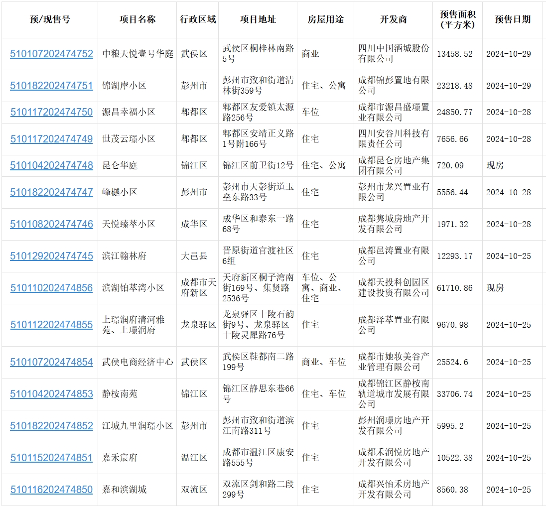
三、一周预售

本周(10月24日—10月30日),大成都范围内,共发放40张预售证,其中31个项目包含住宅房源。

数据来源:成都住建蓉e办

四、一周大事件

多家大行调整存量房贷利率

摘要:10月25日,工商银行、农业银行等主要商业银行,对符合条件的存量房贷利率进行了批量集中调整,将加点幅度高于-30基点的存量房贷利率,调整到不低于-30个基点。部分中小银行完成调整的时间可能会略晚,总体预计于10月31日前完成。调整后,预计存量房贷利率将平均下降0.5个百分点左右,总体上将能节省利息支出1500亿元,惠及5000万户家庭、1.5亿居民。

住建部:巩固房地产市场筑底止跌势头

摘要:10月28日,住房城乡建设部党组书记、部长倪虹主持召开座谈会,听取部分房地产、建筑业、市政公用行业领域企业负责人意见和建议,强调要用足用好中央各项存量和增量政策,坚定信心、下定决心,正视问题、解决问题,深化改革、转型创新,巩固房地产市场筑底止跌势头,推动建筑业转型升级,促进市政公用事业持续健康发展,为经济回升向好贡献力量。

上海:二手房10月成交量突破2万,新房成交创新高

摘要:10月29日,上海出台楼市政策满月。根据安居客上海监测数据,截至10月28日,上海二手房(含商业)成交总量已达21922套,年内第四次突破2万套大关。新房市场也表现出强劲的增长势头。上周(10月21日-27日)新房成交4583套(含商业),自6月30日后单周成交最高,比前一周上涨27%,显示出市场的持续回暖。截至10月28日,上海新房(含商业)共计网签12703套。

深圳:10月新房网签认购量已超万套

摘要:据深圳中原研究中心监测,截至10月28日,深圳新房住宅已认购11185套,超过过去4个月购房合同网签量总和。同时,深圳新房住宅网签量达到3211套,为近18个月最高。据深圳中原研究中心测算,至10月末,新房网签量有望创2022年以来新高。

封面新闻记者  黄益辉  实习生 张婧茹

评论 13

  • 眉毛很乱胡渣很短 2024-11-01 发表于四川

    学习了

  • fm7f51e4 2024-10-31 发表于四川

    关注!

  • 真娜 2024-10-31 发表于四川

    环比涨27%,这速度有点快啊。

查看更多

去APP中参与热议吧