经济日报:促进房地产止跌回稳仍需努力丨楼市周报

封面区块链 该文章已上链 >

封面新闻 2025-10-23 16:15 60578

每周四,封面天天见之“封面会买房”都会带来最新楼市资讯与行业观察,敬请关注。

从上周四到本周三(10月16日-10月22日),哪些楼市动态值得重点关注?来看本周楼市周报。

一、土地市场

本周,成都范围内共成交11宗涉宅用地,面积合计约534.4亩。

据成都市公共资源交易服务中心网站,青羊区蔡桥街道四宗地将于11月19日拍卖,两宗住宅用地起拍价为17000元/㎡,两宗商业用地起拍价为1780元/㎡,四宗地面积合计约210.6亩。

二、成交数据

成都商品房成交:

本周,成都商品房成交总套数1834套,成交总面积244397.01㎡。

成都二手房成交:

本周,成都二手房成交总套数5285套,成交总面积495384.49㎡。

数据来源:住建蓉e办

三、新增预售

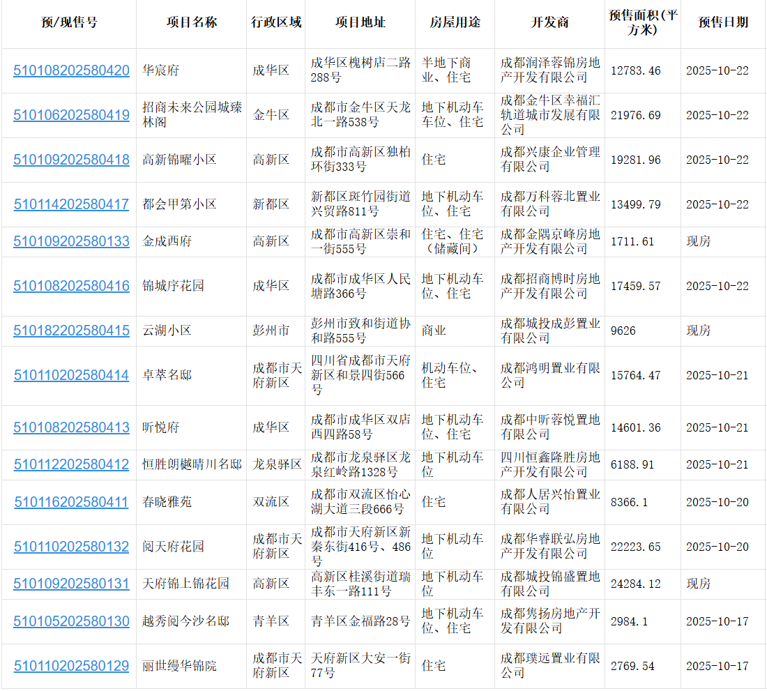
本周(10月2日-10月8日)大成都范围内,共发放24张预售证,其中19个项目包含住宅房源。

数据来源:住建蓉e办

四、一周大事件

经济日报:促进房地产止跌回稳仍需努力

摘要:10月20日,国家统计局公布1月份至9月份全国房地产市场基本情况和9月份70个大中城市商品住宅销售价格变动情况。房地产市场虽有所波动,但商品房销售和住宅价格同比降幅在收窄,去库存成效继续显现,房地产市场仍朝着止跌回稳方向迈进。特别是9月当月,新建商品房销售面积和销售额比8月份有较大幅度增长,为房地产市场继续止跌回稳注入信心。促进房地产止跌回稳还需继续努力。我国将高质量开展城市更新,增加高品质住房供给,更好满足居民刚性和改善性住房需求,促进房地产市场平稳健康发展。其中,积极构建房地产发展新模式,是促进房地产市场平稳健康发展的治本之策。构建房地产发展新模式,应完善住房供应体系。针对人民群众基本住房需求和多样化改善性住房需求,形成保障和市场两个体系定位清晰、功能互补的供应格局。规范发展住房租赁市场,培育市场化、专业化住房租赁企业,提高行业监管和服务能力,依法维护租赁双方合法权益。

9月份70城商品住宅售价环比下降,同比降幅总体持续收窄

摘要:国家统计局城市司首席统计师王中华解读2025年9月份商品住宅销售价格变动情况统计数据。2025年9月份,70个大中城市中,各线城市商品住宅销售价格环比下降,同比降幅继续呈收窄态势。

成都武侯区保障性租赁住房项目将推新

摘要:武侯区首个以产业人才服务为特色的保障性租赁住房项目——蜀府有巢国际公寓社区,将于近期上线406间房源。本批次房源预计于10月24日发布登记公告,10月27日开始登记报名。项目产品以47-49㎡套一和67-70㎡套二为主,项目产品以47-49㎡套一和67-70㎡套二为主。

南京公积金新政:多子女家庭最高贷款额度上浮20%

摘要:10月22日,南京住房公积金管理中心发布多子女家庭公积金支持政策。为支持多子女家庭(有两个及以上未成年子女)解决住房难题、改善居住品质,针对性出台住房公积金租房与购房专项支持政策。对南京本市无房的多子女家庭,每月提取住房公积金支付房租的限额提高20%,家庭每年提取金额上限为51840元,切实减轻其租房资金压力。对符合住房公积金贷款条件的多子女家庭,最高贷款额度上浮20%,如果家庭购买新建绿色二星级以上或改善型商品住宅贷款额度再上浮20%,最高贷款额度为116万元/人、144万元/户。

深圳住房公积金累计归集资金额突破1万亿元

摘要:10月21日,深圳市住房公积金管理中心披露,截至2025年9月28日,深圳住房公积金累计归集资金突破1万亿元,开户职工累计超2000万人,实缴职工约1900万人,制度覆盖外籍、港澳台及灵活就业人员等群体。

封面新闻记者  黄益辉

评论 2

  • BBlackk 2025-10-23

    关注

  • fm9824 2025-10-23 发表于四川

    点赞👍

我要评论

去APP中参与热议吧